企業簡介
鄭韓商貿日用品有限公司是國內多家知名廠家的一級代理商,專業經銷各種中高檔日用品、清潔系列、一次性家具用品系列、
梳妝系列、布藝系列、塑料制品等,產品有幾千個單品,以配送各大商超為主。批發兼零業務有日用百貨、塑料制品、竹木制品、玻璃制品、
布藝制品、紙制品、家居用品等,是河南省鄭州市一流日用品經銷企業。
倉庫情況
公司倉庫面積2000+平方,倉庫人員5人,主要拿貨人員4人,日發貨單量150+單。

倉庫需求
入庫不統一,商品入庫多個位置后找不到貨;
揀貨時間長,出庫拿貨效率慢;
商品規格多,拿貨易出錯;
人員績效通過手動簽字不好統計。
項目效果
1、倉庫基礎建議
整個倉庫根據區域,制定貨位規則,將商品所在位置都編入相應貨位號,并將貨位號有序掛或貼于貨架上,人員清晰可見。
2、軟件工具化
管家婆分銷ERP+ 物聯通倉儲WMS
3、業務流程
采購部門在管家婆分銷ERP系統里輸入采購訂單,倉庫在WMS里調用訂單進行上架,然后生成ERP系統的采購入庫單草稿。采購部門在ERP系統里審核采購入庫單草稿。
銷售部門通過管家婆分銷ERP系統下單,存入草稿,然后倉庫在WMS關聯銷售出庫單草稿揀貨,揀貨后更新草稿單據數量。
通過物聯通倉儲WMS系統核算倉庫各崗位人員具體績效工資。
業務操作
01商品上架,并打印商品標簽
通過物聯通倉儲WMS系統,采用手持PDA設備,進行存貨上架,明確貨品在倉庫的所在位置以及庫存數量。
解決:商品規范化擺放,通過系統引導,不需要記憶商品原本放在什么位置,上架擺放更加快捷。
按采購訂單上架,按倉庫實際到貨生成采購入庫單
解決:通過訂單數量,貨品由倉庫確認數量進入實際采購。




在物聯通倉儲WMS系統支持下,手持PDA端智能展示商品在位置,人員拿貨不需要記憶商品在哪里。
解決:不在擔心品項種類多、分布廣,提升新老人員拿貨速度。




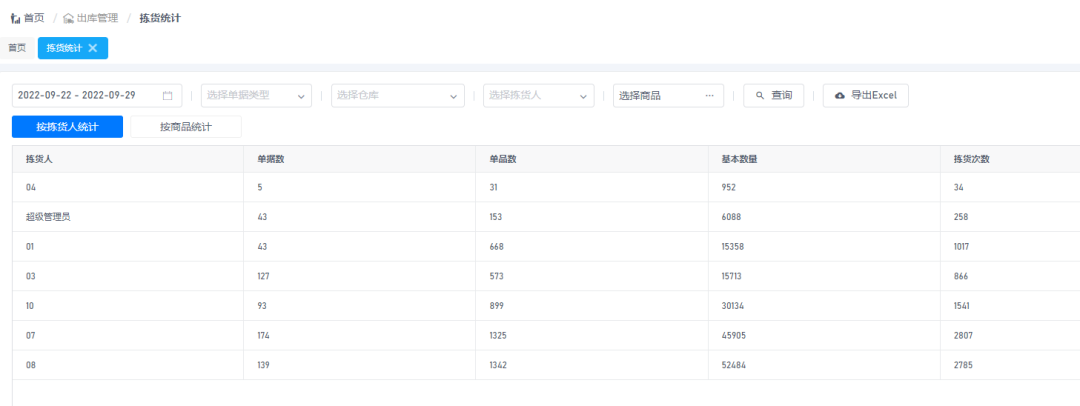
03工作績效等數據輕松統計
物聯通倉儲WMS系統提供了完善數據維度統計,從單據數、單品數、揀貨次數、重量或體積等不同角度進行數據分析,為倉庫工作績效提供重要的多維度參考數據。
解決:人員工作績效數據隨時統計。

04數據輕松可見
數據輕松可見,工作場可以抬頭就見數。
解決:管理者對于倉庫的關鍵數據隨時可見,倉庫人員隨時了解數據。


在管家婆物聯通倉儲WMS系統的支撐下,鄭韓商貿能夠在 4個配貨人輕松應對日峰值150+的傳統商貿訂單量,統一管理8000+SKU商品。
